Whoop explores multi position wearable for muscle oxygen insights
Have we just had a glimpse of where Whoop’s hardware could be heading next? A newly granted patent from the company offers an interesting look at a possible body-worn device, with diagrams showing a pressure-sensitive sensor strap designed for placement beyond the wrist. The filing combines optical sensing with force measurement and points toward deeper physiological tracking, including muscle oxygen insights.
A sensor designed for different parts of the body
One diagram shows the device placed on the upper thigh, while another highlights use across the chest, arm and waist. You may be wondering – why would Whoop want the device worn in different places in the first place? The answer likely comes down to data quality and the type of physiological signal being measured.
Different areas of the body offer very different insights. Larger muscle groups such as the quadriceps can provide a clearer view of muscle oxygen use during exercise, which could be particularly useful for running, cycling and strength work. By contrast, areas such as the chest or torso may offer more stable readings for broader cardiovascular signals and recovery metrics.
This suggests Whoop may be building a system that adapts to the metric. That is a notable shift from the traditional smartwatch approach, where heart rate, recovery and activity tracking are all constrained to a single location whether or not it is the best place to capture the signal.
Muscle oxygen could be the real target
The patent repeatedly points toward combining optical sensing with pressure data to extract deeper physiological signals. One of the most interesting of these is muscle oxygen saturation, which has so far been limited mostly to niche devices and specialist sensors.
Placing a sensor on the thigh or arm makes much more sense for this type of measurement. It allows the device to monitor how muscles are using oxygen during effort, rather than relying purely on heart rate as a proxy for intensity.

If Whoop moves in this direction, it could open the door to new types of training insights. Instead of only tracking strain through cardiovascular response, the system could begin to reflect how hard the muscles themselves are working and how quickly they recover.
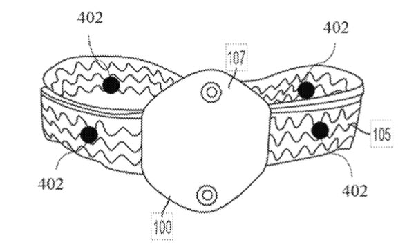
Pressure sensing adds another layer
Another important part of the patent is the use of pressure sensing within the strap.
Rather than assuming the device is worn correctly, the system can detect how tightly it is pressed against the skin and adjust its readings accordingly. This has a direct impact on data quality, especially for optical sensors, which are sensitive to both movement and contact consistency.
It also enables more advanced interpretations of the data. Changes in pressure can affect blood flow and tissue response, which can then be used alongside optical signals to refine measurements.
The patent points to more than muscle oxygen
While the muscle oxygen angle is arguably the most eye-catching part of the filing, the patent itself points to a broader set of physiological metrics.
Among the signals referenced are blood oxygen saturation, oxygenated and deoxygenated hemoglobin, and total hemoglobin levels. That suggests Whoop may be exploring deeper tissue and blood flow analysis.
The filing also references tissue perfusion and blood flow related signals, which could potentially be used to enhance recovery and strain insights. In practical terms, that could help provide a clearer picture of how blood flow responds during exercise and how quickly the body returns to baseline afterwards.
There is also mention of pulse waveform data and pressure-based vascular measurements, which could support more advanced cardiovascular metrics, including refinements to blood pressure trend estimates. That is particularly notable given Whoop already offers Blood Pressure Insights, suggesting this patent may point to future hardware designed to improve the quality and reliability of those readings.
What this could mean for the next Whoop
Of course, this is not a confirmed product roadmap, so it should be treated as an early signal rather than a direct preview of the next device. What makes this filing particularly interesting is that the patent drawings do not appear to show wrist placement, instead focusing on other parts of the body.
That opens up the possibility that this is not a direct replacement for the standard Whoop. Instead, it may be a separate device designed to work alongside the core wearable, potentially as part of the company’s broader body-based tracking ecosystem.
What gives this filing weight is that, in the past, pretty much all of Whoop’s patents have gone on to appear in real-world products. While that is never a guarantee, it does make this feel more than just a theoretical concept on paper.
This article originally appeared on Gadgets & Wearables, the first media outlet to report the story.
Source: USPTO
Subscribe to our monthly newsletter! Check out our YouTube channel.
And of course, you can follow Gadgets & Wearables on Google News and add us as a preferred source to get our expert news, reviews, and opinion in your feeds.