Image source: Gadgets & Wearables (Gemini)

New Fitbit patent hints at blood pressure checks from the wrist

A newly granted Fitbit patent suggests the company may be exploring blood pressure tracking for future wearables. Rather than passive background monitoring, the filing points to short on-demand spot checks.

Fitbit Blood Pressure patent

Fitbit may be working on spot blood pressure checks

What makes this filing interesting is the way Fitbit seems to be approaching the measurement itself. Rather than trying to estimate blood pressure continuously in the background, the patent points to a guided check that the user actively starts, which could make the feature more reliable in real-world use.

The document, granted on April 7, 2026 by the US Patent Office, describes a system that combines optical pulse sensing with a force sensor to analyse how the pulse signal changes during a brief reading. In other words, this looks less like an always-on wellness metric and more like a dedicated health tool, similar in concept to how ECG features are used on smartwatches today.

Fitbit Blood Pressure patent

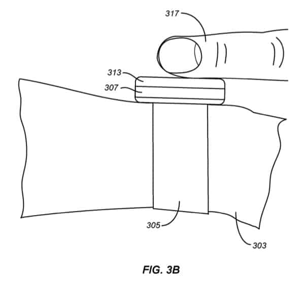
The reading appears to be taken with a finger press

One of the clearest illustrations in the patent shows a finger pressing down on the top of the wearable while the main sensor remains in contact with the wrist. That detail makes the likely real-world use much easier to understand and gives the whole concept a far more practical feel.

In simple terms, you would wear the device as normal and then manually start a blood pressure reading. At that point, you place a finger on the top sensor area for a short period, which increases the force applied at the underside optical sensor against the wrist.

Fitbit Blood Pressure patent

The wearable then tracks two things at once. It captures the pulse waveform through a standard optical sensor, much like existing heart rate tracking, while also measuring how much pressure is being applied through a dedicated force sensor. The software then analyses how the pulse amplitude changes as that pressure changes, using the relationship between the two to estimate blood pressure.


A more practical approach than passive estimates

This is an important distinction because many cuffless blood pressure concepts rely heavily on indirect estimation methods such as pulse transit time and calibration models. Those approaches can work, but they often depend on baseline calibration and can drift over time.

Fitbit’s patent suggests something more controlled. By knowing exactly how much force is being applied during a spot check, the device may be able to generate a more stable and repeatable estimate.

In practical use, this would likely be a feature for occasional checks rather than continuous all-day monitoring. Think of it as something you use occasionally to track trends, rather than a passive metric quietly updating in the background.


Why this matters now

The timing is interesting given the recent screenless Fitbit band teasers that seem to point toward a stronger focus on health, recovery and passive wellness tracking. A spot blood pressure feature would fit neatly into that broader direction, even if it eventually lands first on a Google Pixel Watch rather than a band.

Blood pressure remains one of the major health metrics that mainstream wearables are still trying to crack in a practical way. This filing suggests Fitbit is still very much working on solutions behind the scenes.

As always, a patent does not mean this feature is about to launch. Companies file plenty of concepts that never make it into consumer products, and that is especially true in the health sensing space.

That said, this one feels more grounded than many abstract filings because it lays out a believable way a user would actually take a reading. If Fitbit does bring this to market, it could become a genuinely useful addition for people who want quick spot checks and long-term blood pressure trends from the wrist.

This article originally appeared on Gadgets & Wearables, the first media outlet to report the story.

Source: USPTO


Subscribe to our monthly newsletter! Check out our YouTube channel.

And of course, you can follow Gadgets & Wearables on Google News and add us as a preferred source to get our expert news, reviews, and opinion in your feeds.

Ivan Jovin

Ivan has been a tech journalist for over 12 years now, covering all kinds of technology issues. Based in the US - he is the guy who gets to dive deep into the latest wearable tech news.

Ivan Jovin has 2065 posts and counting. See all posts by Ivan Jovin

Leave a Reply

Your email address will not be published. Required fields are marked *

This site uses Akismet to reduce spam. Learn how your comment data is processed.