Concept image | Source: Gadgets & Wearables

Oura may turn its ring charger into a bedside health hub

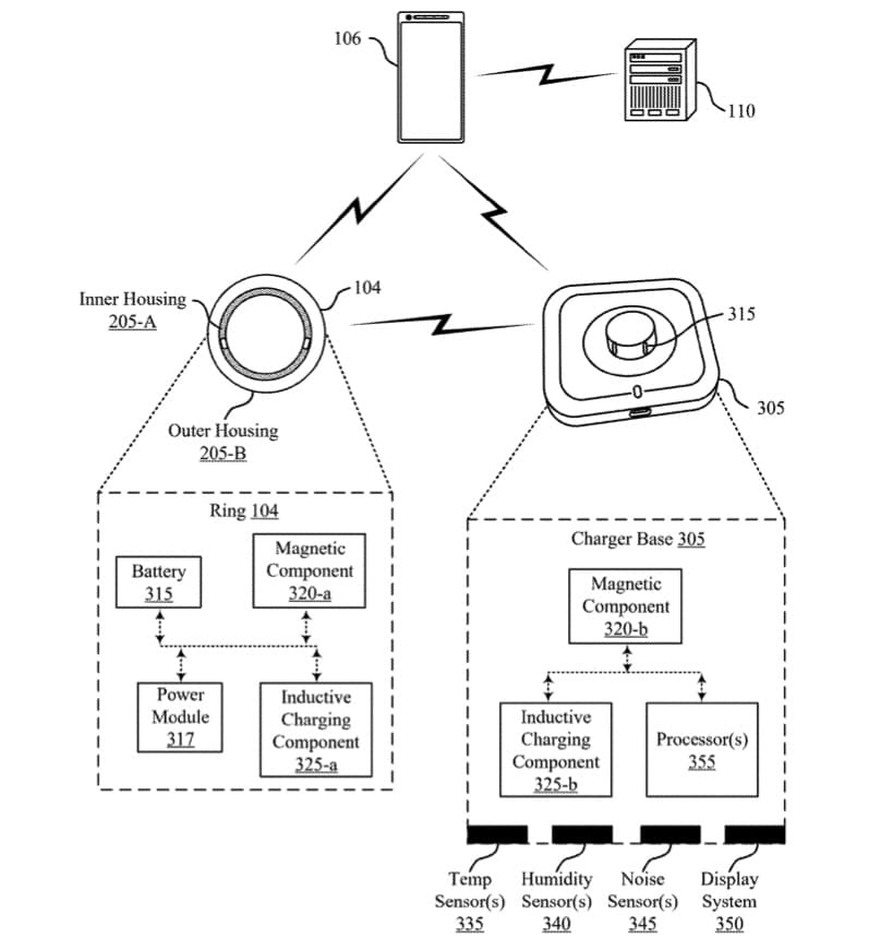
Oura has published a patent for a much smarter ring charger, and it sounds like a great idea. Instead of just topping up your ring, it could show things like Sleep Score, Readiness Score, heart rate and workout data right on the dock, or even project it onto a wall or ceiling.

Oura charger with display

The patent was published on April 23, 2026, and the application itself was filed on October 21, 2025. It is also a continuation of an earlier filing from December 2023, which suggests this is an idea Oura has been circling for a while.

The interesting part is not just the screen. Oura is essentially describing a charger that becomes part of the product experience, especially around sleep and recovery, instead of being the thing you forget about once the ring battery tops up.

Oura charger with display
Source: USPTO

A charger that does more than charge

At the heart of the filing is a simple idea. Plenty of people wear a smart ring to track sleep, readiness and activity, but they still need to open the app to actually see the results. Oura’s patent tries to cut out that extra step by putting a display into the charger itself.

The patent says the charger could use different kinds of displays, including LED, LCD and OLED. It also goes further than that, describing holographic projection, so the charger could project data above the dock or onto nearby surfaces such as a wall or ceiling!

There is also a practical bedside angle running through the whole thing. The filing explicitly talks about users not wanting to grab their phone just before sleep or right after waking, since that can interrupt routines and pull them straight into a screen. From Oura’s point of view, the charger becomes a cleaner way to surface the most useful bits of data.


The bedside use case is the real story

One example in the filing says that when the system detects the user has woken up, the charger could show a Sleep Score and a Readiness Score. Another says that after a workout it could show an Activity Score, heart rate or respiration rate.

A charger that shows the right data at the right moment is a very interesting idea. It would also give Oura a way to make the ring feel more present in everyday life without adding a screen to the ring itself, which would bring its own tradeoffs in size, battery life and design.

The filing even includes a guided breathing example. In one scenario, the charger receives real time respiration data from the ring and projects calming visuals onto the ceiling to help the user fall asleep.

The diagrams also show optional components built into the charger itself, including temperature, humidity and noise sensors. That does not necessarily mean Oura plans to ship all of that in a future product, but it shows the company is at least considering a charger that understands more about the sleep environment around the user.

Oura charger with display
Source: USPTO

What this could mean for Oura

The obvious caveat applies here. A patent is not a product launch, and companies often protect ideas that never make it to market. Still, this one feels more grounded than the average blue sky filing because it builds directly on Oura’s existing strengths rather than pushing the company into a totally different category.

A smart charger with a simple display feels plausible. A smarter bedside dock that mixes sleep scores, charging status and a few contextual prompts also feels plausible. Ceiling projections and the fuller sensor packed version sit further out, but even those details show where Oura’s head is at.

This article originally appeared on Gadgets & Wearables, the first media outlet to report the story.

Source: USPTO


Subscribe to our monthly newsletter! Check out our YouTube channel.

And of course, you can follow Gadgets & Wearables on Google News and add us as a preferred source to get our expert news, reviews, and opinion in your feeds.

Ivan Jovin

Ivan has been a tech journalist for over 12 years now, covering all kinds of technology issues. Based in the US - he is the guy who gets to dive deep into the latest wearable tech news.

Ivan Jovin has 2059 posts and counting. See all posts by Ivan Jovin

Leave a Reply

Your email address will not be published. Required fields are marked *

This site uses Akismet to reduce spam. Learn how your comment data is processed.